# 使用说明
# 供应商人员等级管理
企业根据据供应商人员的工作经验、技能水平、职业资格等因素,划分为多个人员等级,实现供应商人员更细颗粒度的成本管控
新建人员等级,填写等级名、标识和成本。成本指的是该人员等级一天的成本
之后如果用供应商人员设置为该等级,在人员列表可以看到具体人员信息
查看人员信息,支持修改人员的登记

# 供应商信息管理
在平台内点击【供应商管理】,查看供应商列表,点击【新建】,支持手动添加和批量导入供应商

手动添加供应商,需要填写供应商基本信息、营业执照和资质证书

新建完供应商,进入供应商人员管理页面,支持人员的添加、邀请和修改人员等级及移出供应商、移出企业操作。
供应商成员列表

手动添加成员,选择人员,给与相应人员等级即可。
支持人员列表上快速修改人员等级。

# 供应商设置
# 供应商角色管理
供应商内支持独立的权限管理,支持自定义供应商角色。创建供应商用户默认为管理员,企业管理员拥有所有供应商的管理权限。

支持管理员删除供应商。

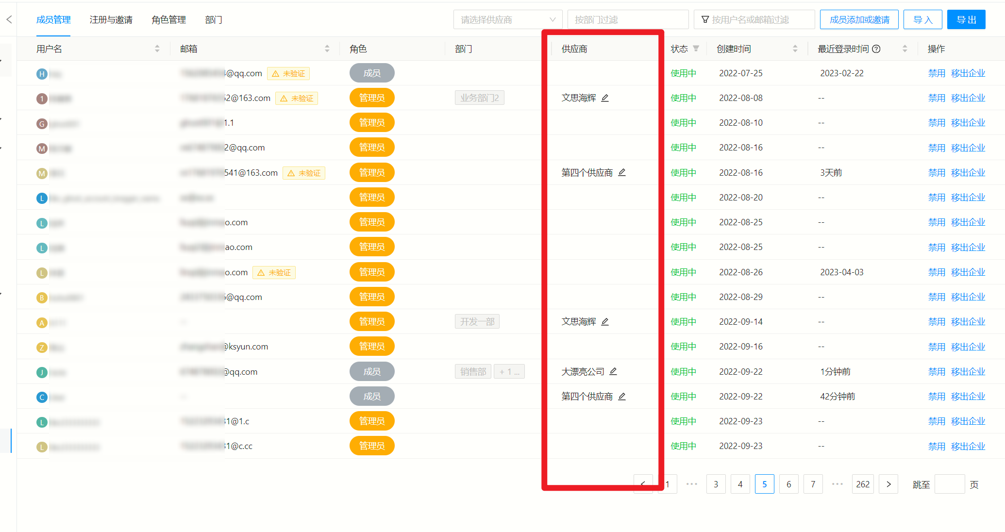
# 企业设置中用户列表展示供应商信息
在企业设置中的【成员与用户】页面,用户列表中显示供应商信息,支持手动修改用户的所属供应商。

← 产品介绍